Product Summary
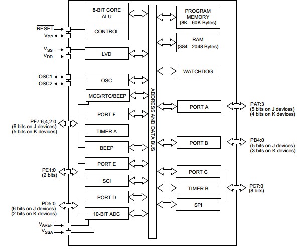
The ST72F324J6T6 is an 8-bit MCU with nested interrupts, flash, 10-bit ADC, 4 timers, SPI, SCI interface. The enhanced instruction set and addressing modes of the ST72F324J6T6 offer both power and flexibility to software developers, enabling the design of highly efficient and compact application code. In addition to standard 8-bit data management, all ST72F324J6T6 microcontrollers feature true bit manipulation, 8x8 unsigned multiplication and indirect addressing modes.
Parametrics
ST72F324J6T6 absolute maximum ratings: (1)supply voltage: 6.5V; (2)programming voltage: 13V; (3)input voltage on true open drain pin: VSS-0.3 to 6.5V; (4)variations between different digital power pins: 50mV; (5)total current input VDD power lines: 75mA; (6)output current sunk by any standard I/O and control pin: 25mA; (7)injected current on VPP pin: ±5mA.
Features
ST72F324J6T6 features: (1)Main Clock Controller with: Real time base, Beep and Clock-out capabilities; (2)Configurable watchdog timer; (3)16-bit Timer A with: 1 input capture, 1 output compare, external clock input, fixed freq PWM and pulse generator modes; (4)16-bit Timer B with: 2 input captures, 2 output compares, variable freq. PWM and pulse generator modes; (5)Full hardware/software development package; (6)In-Circuit Testing capability.
Diagrams

| Image | Part No | Mfg | Description | ![]() |
Pricing (USD) |
Quantity | ||||||||||
|---|---|---|---|---|---|---|---|---|---|---|---|---|---|---|---|---|
![]() |
![]() ST72F324J6T6 |
![]() STMicroelectronics |
![]() 8-bit Microcontrollers (MCU) Flash 32K SPI/SCI |
![]() Data Sheet |
![]()
|
|
||||||||||
![]() |
![]() ST72F324J6T6/TR |
![]() STMicroelectronics |
![]() 8-bit Microcontrollers (MCU) 5V RANGE 8B MCU |
![]() Data Sheet |
![]()
|
|
||||||||||
(China (Mainland))









