Product Summary
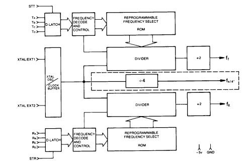
The COM8136 is a dual baud rate generator. It is specifically dedicated to generating the full spectrum of 16 asynchronous data communication frequencies for 16X UART devices. A large number of the frequencies available are also useful for 1X and 32X ASTRO device.
Features
COM8136 features: (1)on chip crystal oscillator or external frequency input; (2)single 5V power supply; (3)choice of 2 x 16 output frequencies; (4)16 asynchronous baud rates; (5)full duplex communication capability; (6)high frequency reference output; (7)TTL, MOS compatibility; (8)compatible with COM 5016.
Diagrams

(China (Mainland))






