Product Summary
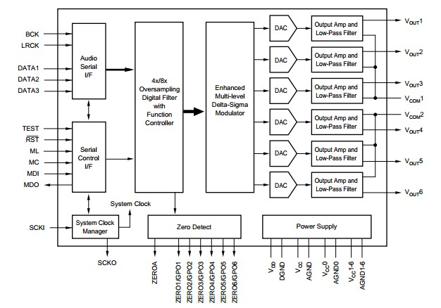
The PCM1604Y is an enhanced multi-level, delta-sigma digital-to-analog converter. The digital-to-analog converters utilize Burr Browns enhanced multi-level, deltasigma architecture, which employs 4th-order noise shaping and 8-level amplitude quantization to achieve excellent signal-to-noise performance, and a high tolerance to clock jitter. The applications of the PCM1604Y include integrated A/V receivers, DVD movie and audio players, HDTV receivers, car audio systems, DVD add-on cards for high-end PCs, digital audio workstations, other multi-channel audio systems.
Parametrics
PCM1604Y absolute maximum ratings: (1)power supply voltage: 4V; (2)digital input voltage: -0.2 to 5.5V; (3)digital output voltage: -0.2 to VDD+0.2V; (4)Input current: 10mA; (5)power dissipation: 650mW; (6)lead temperature: 260℃; (7)package temperature: 235℃.
Features
PCM1604Y features: (1)pin compatible with PCM1600; (2)24-BIT resolution; (3)analog performance; (4)8x oversampling interpolation filter; (5)sampling frequency; (6)data formats: standard, I2S, and left-justified; (7)user-programmable functions.
Diagrams

| Image | Part No | Mfg | Description | ![]() |
Pricing (USD) |
Quantity | ||||||||||||
|---|---|---|---|---|---|---|---|---|---|---|---|---|---|---|---|---|---|---|
![]() |
![]() PCM1604Y/2KG4 |
![]() Texas Instruments |
![]() DAC (D/A Converters) 24Bit/192kHz Smplg 6Ch Enh Mltl D-S DAC |
![]() Data Sheet |
![]() Negotiable |
|
||||||||||||
![]() |
![]() PCM1604YG4 |
![]() Texas Instruments |
![]() Audio D/A Converter ICs 24Bit/192kHz Smplg 6Ch Enh Mltl D-S DAC |
![]() Data Sheet |
![]()
|
|
||||||||||||
![]() |
![]() PCM1604Y/2K |
![]() Texas Instruments |
![]() DAC (D/A Converters) 24Bit/192kHz Smplg 6Ch Enh Mltl D-S DAC |
![]() Data Sheet |
![]() Negotiable |
|
||||||||||||
![]() |
![]() PCM1604Y |
![]() Texas Instruments |
![]() Audio D/A Converter ICs 24Bit/192kHz Smplg 6Ch Enh Mltl D-S DAC |
![]() Data Sheet |
![]()
|
|
||||||||||||
(China (Mainland))









